更新時間:2023年01月13日
20世紀70年代初由美國***先投放市場的電容變送器,是一種開環檢測儀表,具有結構簡單、過載能力強、可靠性好、測量精度高、體積小、重量輕、使用方便等一系列優點,目前已成為***受歡迎的壓力、差壓變送器。其輸出信號也是標準的4~20mA (DC) 電流信號。
電容式壓力變送器是先將壓力的變化轉換為電容量的變化,然后進行測量的。
在工業生產過程中,差壓變送器的應用數量多于壓力變送器,因此,以下按紹興中儀的差壓變送器介紹,其實兩者的原理和結構基本上相同。
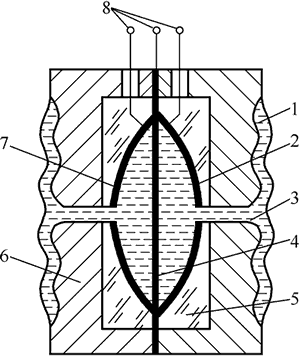
下圖電容式差壓變送器的原理圖,將左右對稱的不銹鋼底座的外側加工成環狀波紋溝槽,并焊上波紋隔離膜片。基座內側有玻璃層,基座和玻璃層中央有孔道相通。玻璃層內表面磨成凹球面,球面上鍍有金屬膜,此金屬膜層有導線通往外部,構成電容的左右固定極板。在兩個固定極板之間是彈性材料制成的測量膜片,作為電容的中央動極板。在測量膜片兩側的空腔中充滿硅油。
圖:電容式壓力變送器工作原理

1一隔離膜片;2,7一固定電極;3一硅油;4一測量膜片;5一玻璃層;6一底座;8一引線
當被測壓力p、P分別加于左右兩側的隔離膜片時,通過硅油將差壓傳遞到測量膜片上,使其向壓力小的一側彎曲變形,引起中央動極板與兩邊固定電極間的距離發生變化,因而兩電極的電容量不再相等,而是一個增大、另一個減小,電容的變化量通過引線傳至測量電路,通過測量電路的檢測和放大,輸出一個4 ~ 20mA的直流電信號。
電容式差壓變送器的結構可以有效地保護測量膜片,當差壓過大并超過允許測量范圍時,測量膜片將平滑地貼靠在玻璃凹球面上,因此不易損壞,過載后的恢復特性很好,這樣大大提高了過載承受能力。與力矩平衡式相比,電容式沒有杠桿傳動機構,因而尺寸緊湊,密封性與抗震性好,測量精度相應提高,可達0.2級。
儀器儀表廠家 紹興中儀電子有限公司
電話:18106836685
15088506679